

弧門卸料器用途
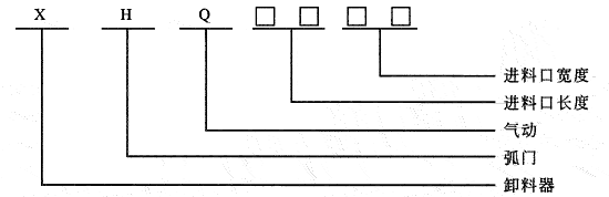
XHQ氣動弧門卸料器是國內近年來發展起來的一種新型卸料設備。氣動弧門放料裝置廣泛應用于煤炭、電力、化工、建樹、冶金、礦山、食品、糧食、醫藥、交通運輸等部門的散體物料的卸料。
弧門卸料器特點
1、能自動開啟、關閉.啟閉方便、靈活、準確;2、給料且可調,易于實現自動控制;
3、結構簡單*外形尺寸小*安裝操作簡便;運行可靠,維修方便;
4、重量輕,運行費用低,磨損小,噪音低;
5、安裝高度低,可取代料倉錐體或部分錐體,不需要基礎。
6、氣動弧門放料裝置工作安全可靠,不受失電的影響。

技術參數:

蘇公網安備 32062102000309號